中国速度!2018年度热词TOP5居然全都申请注册商标了!

2024-01-01 14:01:26
By 神等侠侣

近日,新浪微博发布2018年度热词,“确认过眼神”“skr”等热词上榜,根据往年的数据,网络热词一向受商家们追捧,喜欢把它们注册商标,因为这次词汇本身就具有高热度和高传播量,能够快速获得市场关注,不需要商家们投入太多的市场宣传费用。那么对于2018新鲜出炉的这些热词又是怎么样呢?赛贝小编去查了下,果然热词TOP5都被申请注册商标了,而且申请注册的人还不少,一起来看看吧。

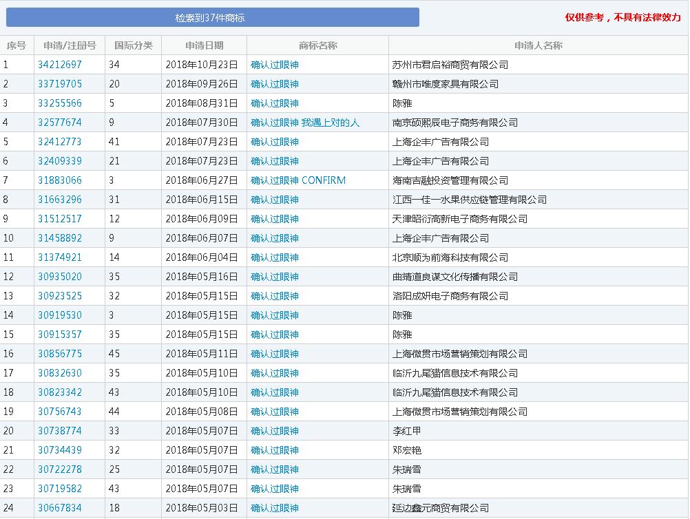
2018年度热词TOP1:确认过眼神,是遇到对的人

这句话是来自林俊杰的一首《醉赤壁》中的歌词,早在10年前林俊杰和方文山合作创作了这首歌,但在当时不是很火。但估计林俊杰怎么也没想到,10年后这首歌因为这句歌词在抖音上因某网红的传唱给带火了,再渐渐演变到现今大众喜欢说的“确认过眼神,是xxx的人,给广大的网友发挥的空间。

赛贝小编通过商标查询,检索到37件商标,基本上商标注册申请提交时间集中在2018年5月-9月,商标注册类别中35类、43类比较热门。

2018年度热词TOP2:Skr

“Skr”这个词是网络流行词汇,相当于中文中的“赞“、”牛逼”的意思。其起因也很搞笑,是在综艺《中国新说唱》中吴亦凡将拟声词误用成形容词,引发大众追捧和逗笑的模仿,所以它其实也没有官方明确的定义。

和“skr”有关的商标就厉害了,赛贝小编查到了247个商标结果,2018年新申请的就有98个。有单独申请“skr”的,也有申请“skr”相关的词汇的,比如skr-skate,大概看了下这个“skr”商标的总体申请情况,大概有1/3申请成功了,还有部分待实质审查以及其它个人或者公司刚申请的。

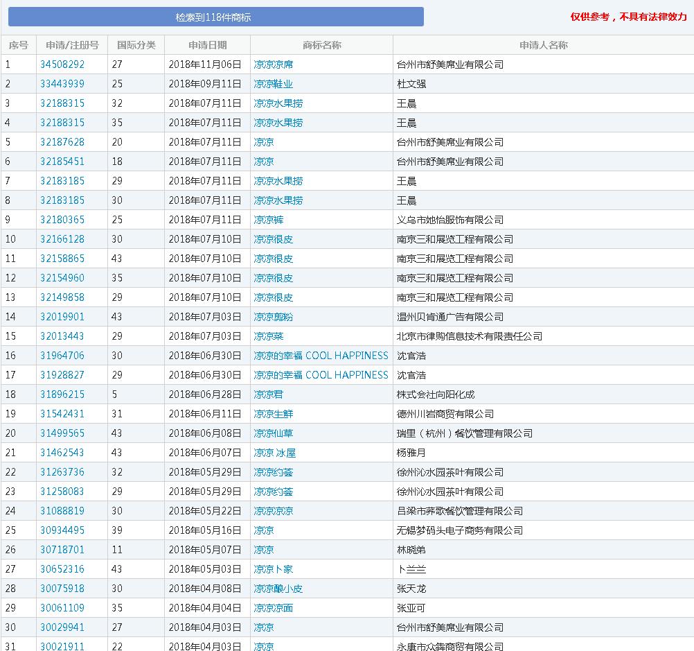
2018年度热词TOP3:一首凉凉送给你

这个相信很多人知道这个梗,因为去年年初火热的电视剧《三生三世十里桃花》带火了片尾曲《凉凉》,之后莫名就给网友们延用到当某人遭遇到某事时,表示心疼TA,就会说点一首《凉凉》送给你,也有很有网友在自己遭遇到糟心的事情也会说点一首凉凉送给自己。或者当某事失败没有回转的余地时也可以用凉凉表示这件事的结果。

“凉凉”这个词随着《三生三世十里桃花》的热播也受到了全名追捧,对于这个词,赛贝小编检索到118件相关的商标,有单独申请注册“凉凉”的,也有注册“凉凉水果捞”“凉凉凉面”等与“凉凉”相关的行业的商标,其中35类、29类等都是热门注册类别。

2018年度热词TOP4:C位出道

这个词厉害啦,出自爱奇艺一档综艺选秀节目——《偶像练习生》,其中C代表的是英文“Center”中心的意思,代表有实力的人,并且通过自己的努力站在的团队的中心,成为大众的焦点。而节目播出过程中“蔡徐坤 C位出道”这个话题也一直保持了很高的热度。

关于“C位出道”这个词,可能由于相关的行业不是很明显,赛贝小编检索到11个结果,主要是酒业企业和食品企业居多,关注较多的商标类别为29类和30类。

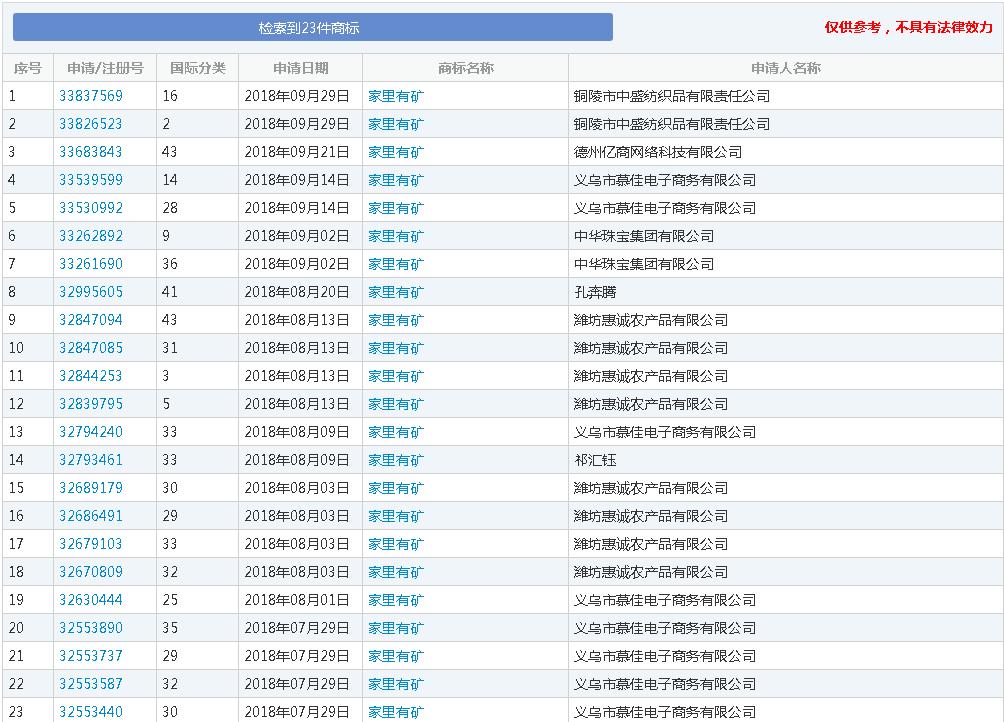
2018年度热词TOP5:家里有矿

这个词最早源自赵本山老师的表情包,原梗出自电视剧《马大帅》,原话是“啥家庭啊,家里有矿啊?”形容别人很有钱,或者是吐槽不知道节俭很败家的人。

关于该词的商标申请,已有23条申请记录,申请该商标注册的企业类型大多为纺织品公司、电子商务公司以及农产品公司,其中33类和29类商标比较受欢迎。

看了这些网络热词商标注册情况,大家有没有觉得非常有趣?虽然用网络热词注册商标可以在前期省掉一部分市场宣传费用,但是有些词汇如果跟自己的行业根本就不沾边,强行注册下来估计也起不到很好的宣传效果,毕竟关联性太差,消费者也很难在看到商标的第一时间想到你的产品。而且网络热词的热度会随着时间推移而逐渐减弱,这对于商标来说可不是一件好事儿,所以虽然用网络热词注册商标有一些好处,但是赛贝知识产权平台还是建议大家根据自己的企业和业务类型,注册一个有意义、又独特的商标,不仅能有相关的企业内涵,而且还不容易跟别人撞商标,何乐而不为呢?


(本文内容根据网络资料整理和来自用户投稿,出于传递更多信息之目的,不代表本站其观点和立场。本站不具备任何原创保护和所有权,也不对其真实性、可靠性承担任何法律责任,特此声明!)


常见问答(FQAS)


这么快就全都申请商标了吗?

是的,中国的企业和个人非常重视品牌建设,这些2018年度热词一出就引发了广泛关注,很快就有企业和个人主动提出申请注册这些词汇作为商标,以期建立品牌优势。

注册成功率会高吗?

并不能说注册成功率一定很高。商标局会对每个申请进行严格审核,判断是否具有其他已经存在的商标所可能产生的混淆,以确保新的商标注册不会影响原有商标权人的利益。部分申请可能由于与其他已注册商标相冲突而无法成功注册。

成功注册后会有什么优势?

成功注册后,商标权人将获得专属使用该词汇作为商标的权利。这会给企业带来一定的品牌优势,有利于推广产品和服务,获取更多用户关注。同时也可以通过法律途径保护自己的专利权,防止他人无授权使用造成商誉损失。

是否也有风险?

虽然成功注册可以获得一定权益,但申请本身也存在一定风险。比如申请失败将白白浪费时间和费用;或者未来其他强权企业也可能对同一词汇提出申请,造成重复审查风险等。整体来看,是否选择申请注册还需综合考虑自身商业需求和可能产生的风险与成本。